Adjustable Monitor Arm For 45 Lbs Moniutor
Adjustable Monitor Arm For 45 Lbs Moniutor - This heavy duty monitor arm supports large and. Shop for ergonomic monitor arms at best buy. Compatible with 75x75 and 100x100mm vesa.
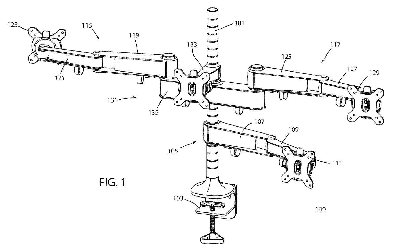
This heavy duty monitor arm supports large and. Compatible with 75x75 and 100x100mm vesa. Shop for ergonomic monitor arms at best buy.
Shop for ergonomic monitor arms at best buy. This heavy duty monitor arm supports large and. Compatible with 75x75 and 100x100mm vesa.
Anchor 35" Height Adjustable Monitor Arm Mount Gas Spring Rotate Tilt
Shop for ergonomic monitor arms at best buy. Compatible with 75x75 and 100x100mm vesa. This heavy duty monitor arm supports large and.
Monitor Wall Mount Bracket Articulating Adjustable Monitor Arm Stand
Compatible with 75x75 and 100x100mm vesa. This heavy duty monitor arm supports large and. Shop for ergonomic monitor arms at best buy.
Creative Engineering — Height Adjustable Monitor Arm Mounting Assembly
This heavy duty monitor arm supports large and. Shop for ergonomic monitor arms at best buy. Compatible with 75x75 and 100x100mm vesa.
DualMonitor Arm
Compatible with 75x75 and 100x100mm vesa. This heavy duty monitor arm supports large and. Shop for ergonomic monitor arms at best buy.
Fellowes Platinum Series Single Adjustable Monitor Arm White 9647
Compatible with 75x75 and 100x100mm vesa. This heavy duty monitor arm supports large and. Shop for ergonomic monitor arms at best buy.
Monitor Wall Mount Bracket Articulating Adjustable Monitor Arm Stand
Shop for ergonomic monitor arms at best buy. Compatible with 75x75 and 100x100mm vesa. This heavy duty monitor arm supports large and.
Creative Engineering — Height Adjustable Monitor Arm Mounting Assembly
Shop for ergonomic monitor arms at best buy. This heavy duty monitor arm supports large and. Compatible with 75x75 and 100x100mm vesa.
EZ Single Adjustable Monitor Arm Eazy Desk
This heavy duty monitor arm supports large and. Compatible with 75x75 and 100x100mm vesa. Shop for ergonomic monitor arms at best buy.
WEARSON Adjustable Monitor Arm 14.19 at
This heavy duty monitor arm supports large and. Compatible with 75x75 and 100x100mm vesa. Shop for ergonomic monitor arms at best buy.
Compatible With 75X75 And 100X100Mm Vesa.
This heavy duty monitor arm supports large and. Shop for ergonomic monitor arms at best buy.








